Product Summary
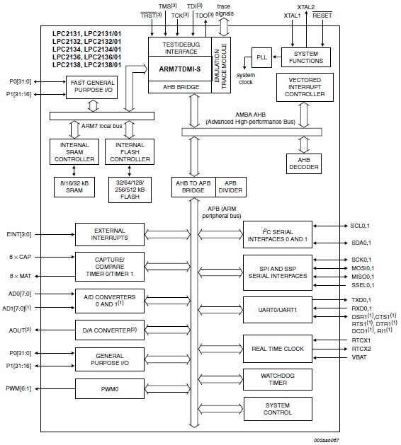
The LPC2138FBD64 microcontrollers are based on a 16/32-bit ARM7TDMI-S CPU with real-time emulation and embedded trace support, that combine the microcontroller with 32 kB, 64 kB, 128 kB, 256 kB and 512 kB of embedded high-speed flash memory. A 128-bit wide memory interface and a unique accelerator architecture enable 32-bit code execution at maximum clock rate. For critical code size applications, the alternative 16-bit Thumb mode reduces code by more than 30 % with minimal performance penalty.
Parametrics
Absolute maximum ratings: (1)VDD, supply voltage (core and external rail): -0.5 to +3.6 V; (2)VDDA, analog 3.3 V pad supply voltage: -0.5 to +4.6 V; (3)Vi(VBAT), input voltage on pin VBAT for the RTC: -0.5 to +4.6 V; (4)Vi(VREF), input voltage on pin VREF:-0.5 to +4.6 V; (5)VIA, analog input voltage on ADC related pins:-0.5 +5.1 V; (6)VI, input voltage at 5 V tolerant I/O pins; only valid when the VDD supply voltage is; (7)present:-0.5 to +6.0 V; other I/O pins:-0.5 to VDD + 0.5 V; (8)IDD, supply current per supply pin:100 mA max; (9)ISS, ground current per ground pin:100 mA max; (10)Tstg, storage temperature:-40 to +125 ℃; (11)Ptot(pack), total power dissipation (per package) based on package heat transfer, not device power consumption:1.5w; (12)Vesd, electrostatic discharge voltage: human body model all pins: -4000 to +4000 V.
Features
Features: (1)two 8-channel 10-bit ADCs provide a total of up to 16 analog inputs, with conversion times as low as 2.44 μs per channel; (2)Single 10-bit DAC provides variable analog output; (3)Two 32-bit timers/external event counters (with four capture and four compare channels each), PWM unit (six outputs) and watchdog; (4)Low power Real-time clock with independent power and dedicated 32 kHz clock input; (5)Multiple serial interfaces including two UARTs (16C550), two Fast I2C-bus (400 kbit/s), SPI and SSP with buffering and variable data length capabilities; (6)Vectored interrupt controller with configurable priorities and vector addresses; (7)Up to forty-seven 5 V tolerant general purpose I/O pins in tiny LQFP64 or HVQFN package; (8)Up to nine edge or level sensitive external interrupt pins available.; (9)60 MHz maximum CPU clock available from programmable on-chip PLL with settling time of 100 μs; (10)On-chip integrated oscillator operates with external crystal in range of 1 MHz to 30 MHz and with external oscillator up to 50 MHz; (11)Power saving modes include Idle and Power-down; (12)Individual enable/disable of peripheral functions as well as peripheral clock scaling down for additional power optimization; (13)Processor wake-up from Power-down mode via external interrupt or BOD; (14)Single power supply chip with POR and BOD circuits: CPU operating voltage range of 3.0 V to 3.6 V (3.3 V ± 10 %) with 5 V tolerant I/O pads.
Diagrams

| Image | Part No | Mfg | Description | ![]() |
Pricing (USD) |
Quantity | ||||||||||||
|---|---|---|---|---|---|---|---|---|---|---|---|---|---|---|---|---|---|---|
![]() |
![]() LPC2138FBD64/01,11 |
![]() NXP Semiconductors |
![]() ARM Microcontrollers (MCU) 512K FL/32K RAM 10BIT ADC/DAC |
![]() Data Sheet |
![]()
|
|
||||||||||||
![]() |
![]() LPC2138FBD64/01,15 |
![]() NXP Semiconductors |
![]() ARM Microcontrollers (MCU) ARM7 512KF/32KR/ADC |
![]() Data Sheet |
![]()
|
|
||||||||||||
(China (Mainland))




